ТПП/ТПР-0192-09, -10, -11, -12, -14, -15

ТПП/ТПР-0192-09, -10, -11, -12,  -14, -15
ТПП/ТПР-0192-09, -10, -11, -12, -14, -15

"Платиновые" термопары с защитным чехлом из сплава ХН45Ю.

Отправить заявку
ГарантияГарантийный срок эксплуатации до 12 месяцев со дня ввода в эксплуатацию, но не более 18 месяцев с даты изготовления, в пределах ресурса.
Основные технические характеристики

Предназначены для измерения температуры газообразных нейтральных и окислительных сред, воздуха, инертных газов, не взаимодействующих с материалом термоэлектродов и неразрушающих материал защитной арматуры (например, электрические печи).

Диапазоны измерения:
ТПП 0...+1200 °С
ТПР +600...+1200 °С
  
Класс допуска чувствительного элемента:
для ТПП:   1,2 (по ГОСТ 6616);
для ТПР:    2 (по ГОСТ 6616).
ТПП/ТПР-0192-09, -10, -11, -12, -14, -15
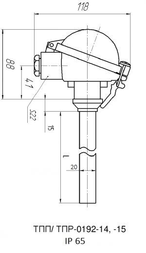
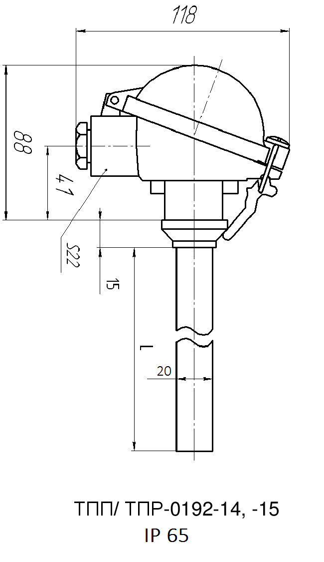
Защитная арматура — без штуцера; материал арматуры (D) — сплав ХН45Ю; D=20 мм;  чувствительные элементы — 1 или 2; термоэлектроды Ø0,5/0,5 мм; один или два чувствительных элемента; не герметичны к измеряемой среде.
 
Техническая поддержка
Николай Воронин
Руководитель отдела поддержки клиентов (термометрия)
Тех. поддержка
Написать специалисту
Заказ