ТПР-0492

ТПР-0492
ТПР-0492

"Платиновые" термопары для доменных печей.

Отправить заявку
ГарантияГарантийный срок эксплуатации до 12 месяцев со дня ввода в эксплуатацию, но не более 18 месяцев с даты изготовления, в пределах ресурса.
Основные технические характеристики

Предназначены для измерения температуры горячего дутья доменных печей, химически агрессивных и высокотемпературных сред.

Диапазоны измерения:         
для ТПР:    +600...+1370 °С. 
Класс допуска чувствительного элемента:
для ТПР:     2 (по ГОСТ 6616).
ТПР-0492
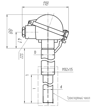
Защитная арматура - без штуцера; материал арматуры (D) — сплав ХН45Ю; материал погружаемой части (d) — газоплотный карбид кремния; D/d=32/25 мм; материал внутреннего чехла — корунд; термоэлектроды Ø0,5/0,5 мм; рабочий спай изолирован.
Техническая поддержка
Николай Воронин
Руководитель отдела поддержки клиентов (термометрия)
Тех. поддержка
Написать специалисту
Заказ