ТХА/ТНН-0196, -0196-Е, -ЕМ, -ЕМ-10, -01

ТХА/ТНН-0196, -0196-Е, -ЕМ, -ЕМ-10, -01
ТХА/ТНН-0196, -0196-Е, -ЕМ, -ЕМ-10, -01

Датчики предназначены для измерения температуры расплавов алюминия, меди и др. расплавов, не разрушающих материал защитной арматуры.

Отправить заявку
ГарантияДо 12 месяцев со дня ввода в эксплуатацию, но не более 18 месяцев с даты изготовления, в пределах ресурса.
Конфигурация и заказ
Выберите необходимые опции
Исполнение
00
Е
Е
ЕМ
ЕМ
ЕМ-10
ЕМ-10
01
01
Вид взрывозащиты
Без взрывозащиты
Exia
Ex
Фиксация крышки корпуса
Защёлка
Резьбовая
Материал арматуры/оболочки кабеля
12Х18Н10Т
15Х25Т
Без арматуры
Материал погружаемой части
Боросилицированный графит
Чугун
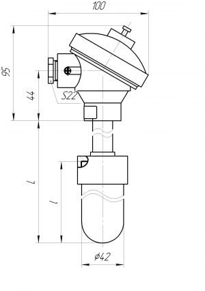
Длина монтажной части, (l), мм
800
800
1000
1000
1250
1250
1600
1600
1700
1700
2000
2000
2500
2500
2700
2700
3000
3000
3150
3150
Длина преобразователя, (L), мм
380
(380)
500
(500)
740
(740)
1100
(1100)
1460
(1460)
1524
(1524)
1600
(1600)
1820
(1820)
Основные технические характеристики

Предназначены для измерения температуры расплавов алюминия, меди и др. расплавов, не разрушающих материал защитной арматуры.

Диапазон измерения         

ТХА-0196          0...+1000 °С 
ТХА-0196-Е, -ЕМ, -ЕМ-10    0...+900 °С
ТХА-0196-01  0...+1200 °С 

Класс допуска

для ТХА — 1, 2 (по ГОСТ 6616).

ТХА-0196 Защитная арматура — без штуцера, материал — сталь 15Х25Т, Ø16 мм, погружаемая часть — боросилицированный графит БСГ-30, Ø42 мм (участок длинной l), материал головки — алюминиевый сплав. Рабочий спай изолирован. Условное давление измеряемой среды Ру = 6,3 МПа. Термоэлектроды Ø3,2 мм. 
ТХА-0196-Е Защитная арматура — без штуцера, погружаемая часть — чехол импортного производства из специального чугуна с неметаллическим покрытием Ø42 мм (участок длинной l), материал головки — алюминиевый сплав. Рабочий спай изолирован. Условное давление измеряемой среды Ру=10 МПа. Термоэлектроды из высокостабильного импортного термопарного кабеля 1-го класса.  
ТХА-0196-ЕМ Диаметр чугунного чехла 32 мм.
ТХА-0196-ЕМ-10 Защитная арматура — без штуцера, материал — сталь 15Х25Т или 12Х18Н10Т, Ø20 мм, погружаемая часть — чехол импортного производства из специального чугуна с неметаллическим покрытием Ø35 или 42 мм (участок длинной l), материал головки — алюминиевый сплав. Рабочий спай изолирован. Условное давление измеряемой среды Ру=10 МПа. Термоэлектроды  из высокостабильного импортного термопарного кабеля 1-го класса. 
ТХА-0196-01  Защитная арматура —  без штуцера, материал — сталь 12Х18Н10Т, Ø20 мм, погружаемая часть — боросилицированный графит БСГ-30, Ø42 мм (участок длинной l) с внутренним керамическим чехлом, материал головки — алюминиевый сплав. Рабочий спай изолирован. Термоэлектроды Ø3,2 мм. 
Техническая поддержка
Николай Воронин
Руководитель отдела поддержки клиентов (термометрия)
Тех. поддержка
Написать специалисту
Заказ