ТХА/ТХК/ТНН-0192, -1192, М1, Т, Т1; 1392

ТХА/ТХК/ТНН-0192, -1192, М1, Т, Т1; 1392
ТХА/ТХК/ТНН-0192, -1192, М1, Т, Т1; 1392

Традиционные термопары диаметром 20 и 16мм

Отправить заявку
ГарантияДо 12 месяцев со дня ввода в эксплуатацию, но не более 18 месяцев с даты изготовления, в пределах ресурса.
Конфигурация и заказ
Выберите необходимые опции
Тип датчика
ТХА
ТХА
ТХК
ТХК
Температурный диапазон
-40 ... +600 ºC
-40 ... +800 ºC
-40 ... +900 ºC
-40 ... +1000 ºC
-40 ... +1100 ºC
Тип присоединения к процессу
Без крепежных элементов
0192
Штуцер
1192
Материал арматуры/оболочки кабеля
12Х18Н10Т
08Х13
А
15Х25Т
Т
10Х23Н18
Т1
08Х20Н14С2
Т2
ХН45Ю
Т3
10Х17Н13М2Т
Т4
Фиксация крышки корпуса
Защёлка
Резьбовая
Вид взрывозащиты
Без взрывозащиты
Exia
Ex
Конструктивное исполнение
Ру=0,4 МПа
Ру=6,3 МПа
Длина монтажной части, (l), мм
160
160
200
200
250
250
320
320
400
400
500
500
630
630
800
800
1000
1000
1250
1250
1600
1600
2000
2000
2500
2500
3150
3150
Основные технические характеристики

Предназначены для измерения температуры газообразных и жидких, химически неагрессивных и агрессивных сред, не взаимодействующих с материалом термоэлектродов и не разрушающих материал защитной арматуры.

Диапазон измерения
ТХК-0192, -1192   -40…+600 °С
ТХА-0192, -1192   -40…+800 °С
ТХА-0192Т2, -Т4, -1192Т2, -Т4   -40…+900 °С 
ТХА-0192Т, -Т1, -1192Т, -Т1  -40…+1000 °С
ТХА-0192Т3, -1192Т3  -40…+1100 °С 
Класс допуска
для ТХА — 1,2;
для ТХК — 2.
В зависимости от материала защитной арматуры рекомендуются следующие измеряемые среды:

Материал защитной арматуры

Измеряемая среда

ТХА/ТХК-0192, ТХА/ТХК-1192:

Сталь 12Х18Н10Т

Окислительные газовые среды, газовые потоки, разбавленные растворы азотной, уксусной кислот, щелочей и солей. При температуре до +800 °С — неподвижные окислительные газовые среды, при температуре до +600 °С — газовые потоки, при наличии механических нагрузок. Не рекомендуются серосодержащие среды, а также соляная, серная, плавиковая, горячая фосфорная и кипящие органические кислоты. 

ТХК-0192-А, ТХК-1192-А:

Сталь 08Х13 (А)

Слабо агрессивные среды, открытый воздух, атмосферные осадки, пресная вода, водяной пар, водные растворы солей и органических кислот при комнатной температуре. Не рекомендуются среды, содержащие углерод.

Сталь устойчива к воздействию ударных нагрузок. Склонна к отпускной хрупкости при температуре +400...+500 °С.

ТХА-0192-Т, ТХА-0192-С, ТХА-1192-Т:

Сталь 15Х25Т (Т)

Газовые и жидкостные агрессивные среды, установки пиролиза. Топочные газы. Не рекомендуется воздействие ударных нагрузок, и температуры +400...+700 °С (из-за склонности стали к отпускной хрупкости).

Сталь — магнитная и устойчива к серосодержащим средам.

ТХА-0192-Т1, ТХА-0192-С1, ТХА-1192-Т1:

Сталь

10Х23Н18 (Т1)

Установки для конверсии метана, пиролиза. Не рекомендуются температуры +600…+800 °С (из-за склонности стали к отпускной хрупкости).

Сталь — немагнитная, не устойчива к серосодержащим средам.

ТХА-0192-Т2, ТХА-0192-С2, ТХА-1192-Т2:

Сталь

08Х20Н14С2 (Т2)

Науглероживающие среды, печи цементации.

ТХА-0192-Т3, ТХА-0192-С3, ТХА-1192-Т3:

Сплав

ХН45Ю (Т3)

Газовые потоки, продукты сгорания. Неустойчив к серосодержащим средам.

ТХА-0192-Т4, ТХА-0192-С4, ТХА-1192-Т4:

Сталь 10Х17Н13М2Т (Т4)

Агрессивная кислотная среда, включая действия растворов кипящей фосфорной, серной, 10%-ной уксусной кислоты и сернокислые среды до температуры +400 °С.

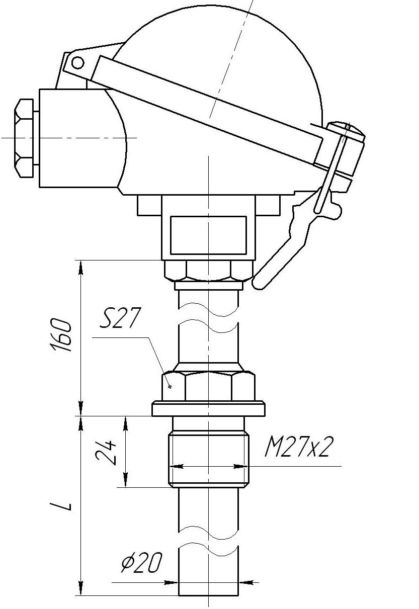
ТХА/ТХК-0192  Материал головки — алюминиевый сплав (BUZ-L на защелке). Защитная арматура Ø20 мм, без штуцера. Рабочий спай изолирован. Термоэлектроды Ø3,2 мм. Условное давление измеряемой среды Ру=0,4 МПа.
ТХА/ТХК-1192 Материал головки — алюминиевый сплав (BUZ-L на защелке). Защитная арматура Ø20 мм, со штуцером М27х2. Рабочий спай изолирован. Термоэлектроды Ø3,2 мм. Условное давление измеряемой среды Ру=6,3 МПа.
ТХА/ТХК-1192М1 Материал головки — алюминиевый сплав (KNA на резьбе). Защитная арматура Ø16 мм, со штуцером М27х2. Рабочий спай изолирован. Термоэлектроды Ø3,2 мм. Условное давление измеряемой среды Ру=6,3 МПа.
Техническая поддержка
Николай Воронин
Руководитель отдела поддержки клиентов (термометрия)
Тех. поддержка
Написать специалисту
Заказ